1. 【AI】AI创建表单
2. 【表单】管理体验优化
一、【AI】AI创建表单
使用场景
一句话描述或上传一个图片,AI可帮你创建完整表单
功能说明
【版本】初级版
【端口】微信小程序,字节小程序,支付宝小程序,百度小程序,快手小程序
功能介绍
1、新增AI创建表单:
可通过后台或设计器,AI创建表单
设计页面:

管理后台:

2、一句话描述创建表单:
设计器表单模块中,点击ai创建表单,一句话描述,AI即可创建对应需求的可用的表单。还可对应继续编辑调整。


3、上传带有表格或表单的图片可创建表单。可拖动图片,点击下一步创建表单。AI 将识别并转化图片为对应内容表单。


4、付费版本赠送10个AI点数,可创建10个表单(每个表单消耗1个点数)。若点数剩余不足,可充值AI点数。
二、【表单】管理体验优化
使用场景
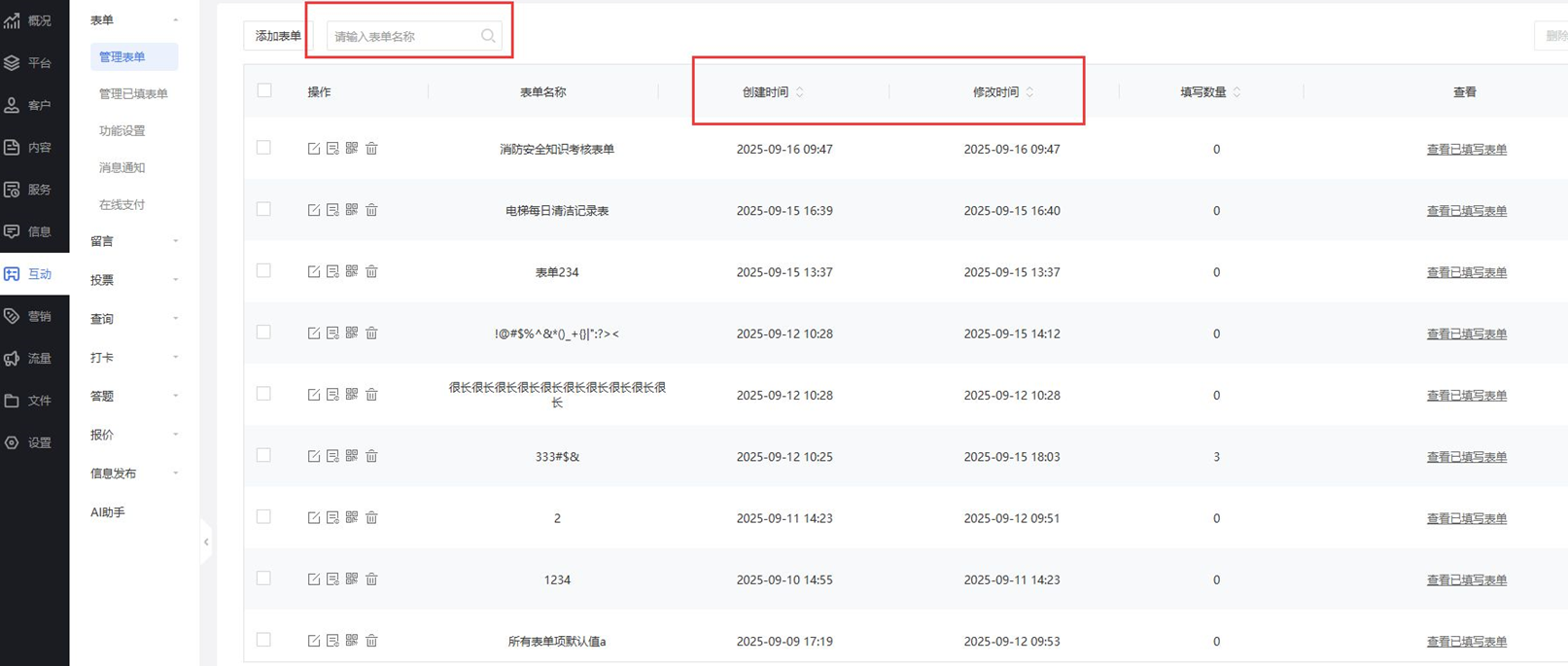
后台表单列表管理,包括不限于排序、搜索等便捷管理相关的支持。
功能说明
【版本】无版本要求
功能介绍
2.1 表单管理 新增支持名称搜索、创建时间排序、修改时间排序

2.2 提交记录支持来源和时间过滤

2.3 表单收到新提交记录时,表单名称右侧会展示红点,提醒管理员查看。
